服务机构:衢州分音塔科技有限公司
系统级别:校级、师市级
覆盖范围:所有中小学校,中职院校
数据存储形式:应用方提供云存储
免费应用形式:免费使用一学期
应用授权形式:账号授权应用
应用简介
学校宿舍、卫生间、隐蔽拐角等无法安装摄像头的地方,极易发生欺凌/打架事件,防欺凌AI报警设备通过声音监测,当识别到欺凌者、围观者以及被害孩子的敏感词/声音,设备即触发报警,通过电话,短信,微信,管理后台四种当时通知负责人,负责人可通过手机和设备双向对讲,及时干预、制止事件进一步恶化。产品特点:支持识别少数民族语言。
主要功能
电话通知短信通知微信通知
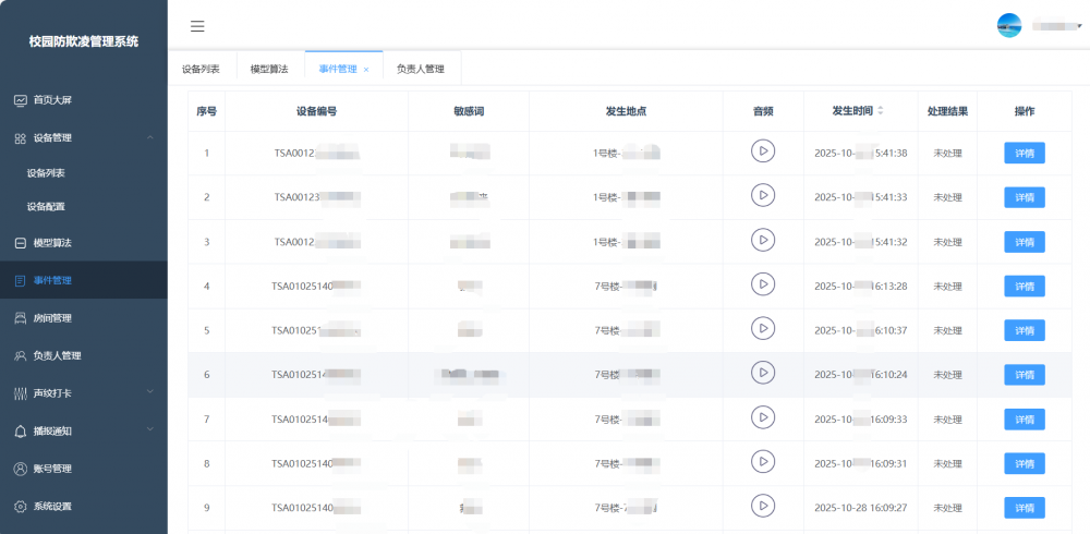
应用截图





©️版权声明:本应用超市内软件均由第三方软件服务商提供。